鋼鋁復合接觸線
產品類別:電氣化鐵路接觸網產品
產品名稱:鋼鋁復合接觸線
點擊次數:
摘要:
鋼鋁復合接觸線也叫做鋼鋁接觸線,鋼鋁電車線,鋼鋁復合電車線。該導線為鋁及鋼復合結構,耐磨耐腐蝕性能好,使用壽命長,成本低,廣泛應用于煤炭、冶金、礦山等。
產品名稱:鋼鋁復合接觸線
點擊次數:
摘要:
鋼鋁復合接觸線也叫做鋼鋁接觸線,鋼鋁電車線,鋼鋁復合電車線。該導線為鋁及鋼復合結構,耐磨耐腐蝕性能好,使用壽命長,成本低,廣泛應用于煤炭、冶金、礦山等。
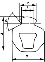
鋼鋁復合接觸線的參數和性能:
鐵標(TB/T2277-91)內包式鋼鋁接觸線機械性能、結構尺寸表

鐵標(TB/T2277-91)內包式鋼鋁接觸線機械性能
| 型號 | GLCN250 | GLCN195 |
| 直流電阻20℃Ω/km,不大于 | 0.149 | 0.198 |
| 綜合拉斷力,kn,不小于 | 54 | 40 |
| 鋼鋁結合力,kn,不小于 | 6 | 5 |
| 往復扭轉180℃一次 | 鋁合縫處允許不大于0.5mm的裂縫 | |
鐵標(TB/T2277-91)內包式鋼鋁接觸線結構尺寸表
| 型號 | 標稱截面積(mm2) | 尺寸及允許偏差 | 標稱重量kg/km | ||||||||||
| 鋼 | 鋁 | 總和 | A | B | C | D | E | F | R | G | F | ||
| CGLN250 | 62 | 188 | 250 | 18.5 | 18.5 | 6.85 | 7.27 | 9.75 | 1.7 | 6.17 | 27±2 | 51±2 | 994 |
| +0.65 | +0.80 | +0.40 | +0.40 | ||||||||||
| -0.30 | -0.40 | -0.20 | -0.20 | ||||||||||
| CGLN195 | 55 | 140 | 195 | 16.2 | 16.0 | 6.85 | 7.27 | 9.75 | 1.7 | 6.17 | 27±2 | 51±2 | 807 |
| +0.65 | +0.55 | +0.40 | +0.40 | ||||||||||
| -0.30 | -0.30 | -0.20 | -0.20 | ||||||||||
國標(GB12971.3-91)內包式鋼鋁接觸線機械性能、結構尺寸表

國標(GB12971.3-91)內包式鋼鋁接觸線機械性能
| 型號規格 | 綜合拉斷力N不小于 | 綜合力N不小于 | 直流電阻20℃Ω/km不大于 |
| CGLN250 CGLN195 |
54000 39220 |
4900 3900 |
0.149 0.198 |
國標(GB12971.3-91)內包式鋼鋁接觸線結構尺寸表
| 型號 | 標稱截面積(mm2)鋼 | 等效銅直流電阻截面mm2 | 鋼、鋁截面mm2 | 尺寸及允許偏差 | G | H | 標稱重量kg/km | ||||
| 鋼 | 鋁 | A | B | C | D | 差±2° | |||||
| CGLN | 250 | 120 | 62 | 188 | 18.5 | 18.00 | 9.55 | 7.30 | 27° | 51° | 994 |
| +0.65 | +0.80 | +0.40 | +0.40 | ||||||||
| -0.30 | -0.40 | -0.20 | -0.20 | ||||||||
| 195 | 85 | 55 | 140 | 16.20 | 16.00 | 9.55 | 7.30 | 27° | 51° | 807 | |
| +0.65 | +0.55 | +0.40 | +0.40 | ||||||||
| -0.30 | -0.30 | -0.20 | -0.20 | ||||||||
鄭州市華威金屬材料有限公司 合作伙伴:
![]() |
![]() |
![]() |
![]() |
![]() |
| 中國鐵建 | 國家電網公司 | 國家核電 | 中國風電 | 葛洲壩集團 |
上一篇:鎂銅合金接觸線
下一篇:沒有了
下一篇:沒有了





